HTB-75 RC ceiling fanStropní ventilátory
Catalog sheet | ![]() | Service instructions | ![]() | 2D/3D CAD | 148.61 EUR |
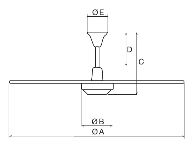
Technical parameters
| otáčky [min-1] | průtok [m3/h] | výkon [W] | napětí [V] | proud [A] | teplota [°C] | akustický výkon [dB(A)] | hmotnost [kg] | regulátor |
|---|---|---|---|---|---|---|---|---|
| 257/208/145 | 4500/3640/2540 | 45 | 230 | 0,20 | 40 | 46 | 4,8 | součást dodávky |
![]() | Oběžné kolo Oběžné kolo je axiální, vylisované z ocelového plechu. Má tři výkonově optimalizované lopatky. Povrchová úprava epoxidovým lakem. | |
![]() | Motor Motor je asynchronní s kotvou nakrátko, s velkým počtem pólů pro dosažení potřebných otáček. Je určen pro trvalý provoz. Maximální provozní teplota okolí je 40 °C. Motor má kuličková uzavřená ložiska s tukovou náplní na dobu životnosti. Motor má ochranu proti přetížení vestavěnou ve vinutí. Třída izolace B. | |
![]() | Svorkovnice Svorkovnice je přístupná po sejmutí kabelového krytu, který se posune po závěsné tyči. Připojení je kabelem pod omítkou nebo po omítce. Svorkovnice obsahuje odlehčovací sponu proti vytržení kabelu. | |
![]() | Regulace otáček Třístupňová regulace pomocí regulátoru, který je součástí dodávky. Možnost změny směru otáčení pomocí přepínače na motoru ventilátoru. Jako volitelné příslušenství je k dispozici také bezdrátové ovládání. | |
![]() | Montáž Montáž se provádí zavěšením na strop nebo na jinou konstrukci. Závěsné zařízení je nutno dostatečně dimenzovat, jak z hlediska statického, tak i případného dynamického zatížení. Spodní hrana ventilátoru musí být umístěna tak vysoko, aby nemohlo dojít k ohrožení osob v blízkosti otáčejícího se oběžného kola. Minimální doporučená vzdálenost od podlahy je 2,5 m. Při montáži více ventilátorů se nesmí zaměnit listy oběžného kola jednotlivých ventilátorů. Listy jsou vyváženy pro každý přístroj zvlášť. | |
![]() | Příslušenství • regulátor otáček v dodávce • HTB RC KIT bezdrátový ovladač s nastavitelným doběhem 1/3/6 hodin • HIG/HYG prostorové hygrostaty (K 8.2) • RTR 6721 prostorový termostat (K 8.2) | |
![]() | Pokyny Ventilátory jsou vhodné pro svoji robustní konstrukci zejména pro provětrávání rozlehlejších prostor, jako jsou například průmyslové haly, hostince, hotely, sportovní haly, kanceláře, knihovny, studovny a odletové haly. Trvalým provětráváním vysokých prostor se značnou teplotní diferencí mezi podlahou a stropem lze v zimním období dosáhnout prostorového vyrovnání teploty a tím podstatného snížení energetické náročnosti a topných nákladů. V těchto případech lze s výhodou použít diferenciální termostaty s dvěma čidly, které při nastaveném rozdílu teploty sepnou ventilátor, který promíchá teplá a studená pásma vzduchu. | |
![]() | Upozornění Ukotvení ventilátoru je třeba pravidelně kontrolovat. Perioda kontrol musí být stanovena provozním předpisem u uživatele. | |
Akustický výkon v oktávových pásmech v [dB(A)]
| 63 | 125 | 250 | 500 | 1000 | 2000 | 4000 | 8000 | LwA | LpA* |
|---|---|---|---|---|---|---|---|---|---|
| 27 | 33 | 37 | 39 | 41 | 39 | 30 | 24 | 46 | 28 |
* akustický tlak emitovaný ventilátorem je měřen ve vzdálenosti 3 m s ventilátorem nainstalovaným na stropě
Additional pictures
regulátor otáček 80x80x70 mm (součást dodávky) | přepínač pro změnu směru otáček | HTB RC KIT - bezdrátové ovládání s nastavitelným doběhem 1/3/6 hodin |















